ESG解读|绿捷食安事务立案低价中标上海近三成
编者按:ESG年报解读为搜狐财经及价值公司100结合倡议的针对各公司ESG演讲披露环境的解读专栏。参考所《上市公司管理原则》、港交所《、社会及管治守则》等文件,搜狐财经迭代完美各行业ESG测评系统尺度,并以最新尺度为依托,以2024年公司ESG演讲为次要数据来历,对公司资本、社会义务及公司管治进行了评价。
9月23日,上海市、上海市市场监视办理局、上海市教育委员会结合发布环境传递称,针对市平易近反映的上海绿捷实业成长无限公司9月15日供应上海市部门学校午餐中虾仁炒蛋存正在问题,市委、市高度注沉,相关部分敏捷介入查询拜访。现已查明,绿捷公司涉嫌瞒报食物平安相关消息,目前机关已立案侦查,并节制相关人员。9月15日,上海多所学校学生家长反映,绿捷供应的午餐“虾仁炒蛋”存正在异味,部门学校告急撤换餐食,改发面包等替代品。当日,绿捷公司派驻静安区某小学司理正在解冻虾仁时发觉此中一盆(约18公斤)内有虫体,现实节制人张某某指令对供应211所学校的虾仁原料及菜品全数下架,但已有50所学校完成供餐。次日,张某某要求对外同一下架缘由为“虾肠外溢、有泥沙”,坦白虫体问题。尝试室检测显示,涉事虾仁的沙门氏菌、副溶血性弧菌等目标均合适国度尺度,但家长质疑“合规但变质”,认为感官非常已严沉影响食物平安。此外,绿捷曾告急删除上海市食物平安消息逃溯平台中540天保质期牛肉、720天冷冻五花肉的溯源记实,激发对其持久利用超长保质期食材的担心。天眼查显示,绿捷公司涉及多起法令胶葛,案由包罗生命权、身体权、健康权胶葛及劳动合同胶葛等。虽然家长赞扬不竭,绿捷仍正在2025年8月中标20余所学校供餐项目。
起首是上文提到的虫体污染和应急措置失职问题。现实节制人张某某虽指令对供应211所学校的虾仁原料及菜品全数下架,但此时已有50所学校完成供餐,涉及数万学生。事务其原料验收环节存正在严沉疏漏,未正在加工前发觉虫体污染。此外,最令家长的是,该公司实控人试图通过瞒报消息,坦白虫体问题。这一行为违反《食物平安法》关于“照实演讲食物平安消息”的,导致家长和监管部分正在事务初期误判风险,耽搁应急响应。而公司正在9月23日发布的仅43个字的道歉声明中,仍未提及虫体品种、已供餐学生健康逃踪等焦点问题。公司通过“选择性发声”降低关心度,缺乏根基的社会义务认识。
涉事虾仁由上海翰霖实业无限公司报关,经上海优合鲜供应链无限公司供应,虽具备入境货色查验检疫证明,但绿捷未正在加工前无效筛查虫体污染,出原料验收环节的失职。
天眼查显示,绿捷食物目前由Green Express Foods, Limited全资控股,而该公司又由多家离岸公司以多层嵌套的体例控股,这使得股权关系极为复杂,逃溯现实节制人难度极大。
KGF的次要控股人的是Ananta信任和厚生投资,别离持有KGF45。44%和38。95%的股权,此中Ananta信任的代表人是新但愿六和董事长刘永好之女刘畅,厚生投资的董事是新但愿集团前副董事长王航(2025年4月卸任)。虽然新但愿集团和绿捷食物没有间接的股权关系,但通过这种复杂的人员和股权联系关系,新但愿集团得以通过间接持股(合计超84%)实现了对KGF的绝对节制,进而掌控绿捷食物。除本钱节制外,Green Express Foods的三名董事——王航、仪均来自厚生投资。王航做为新但愿前副董事长,能够间接参取绿捷的计谋决策;张天笠做为厚生投资创始合股人,从导了对绿捷的收购取整合。这种人事放置或导致新但愿集团既能通过本钱节制绿捷,又能通过办理层干涉日常运营。
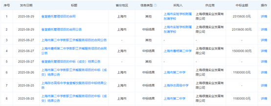
绿捷持久以“低价策略”参取投标,操纵投标文件中“报价分”占比过高的缝隙,以低于市场平均成本的价钱中标。例如,其供应上海市尝试学校从属东滩学校的中标价为231万元,折算下来每餐成本不到3元,即便只算午餐也不外6元。然而家长现实缴费倒是18元/餐,全年收费跨越500万,几乎是中标金额的两倍。
绿捷通过复杂股权架构构成“闭环生态”,将学生餐变为消化上逛产能的渠道。其日供餐超50万份,构成“大而不克不及倒”的场合排场。据天眼查数据,绿捷涉及64条司法案件(包罗生命权、健康权胶葛),且持久被家长赞扬“冻肉比例过高”“油炸食物超标”,但大都评标过程仍以“雷同业绩最多、分析实力较强”为由保举此中标。绿捷的垄断地位导致家长缺乏选择权,更无法通过市场所作倒逼企业提拔质量,发生了“赞扬越多、中标越多”的怪象。前往搜狐,查看更多?。
- 上一篇:看望“超等工场”的食物平安闭环系统
- 下一篇:打BOSS新吉利